EP 3 509 866 B1 relates to to security devices as well as methods for manufacturing such security devices.
In the patent, paragraf [008] was amended to read:
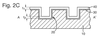
“applying a coating of a colour-shifting coating structure (referred to as a “colour-shifting coating structure”)………such that such that a thickness of the coating of the colour-shifting coating structure land areas and such that a thickness of the coating of the colour-shifting coating structure in the first recess or recesses is greater than or less than a thickness of the coating of the colour-shifting coating structure on the one or more first land areas.