EP 3 292 847 B1 relates to an absorbent article and stems from a divisional application of EP 2 627 295.
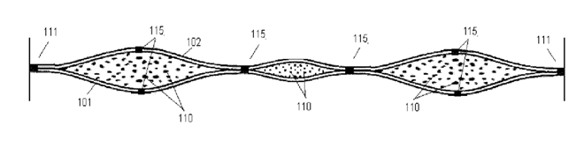
When the absorbent polymer is swelling, secondary attachments (115) are opening and pockets of absorbent polymer are opening.
Brief outline of the case
The patent was revoked by the OD for infringement of Art 76(1).